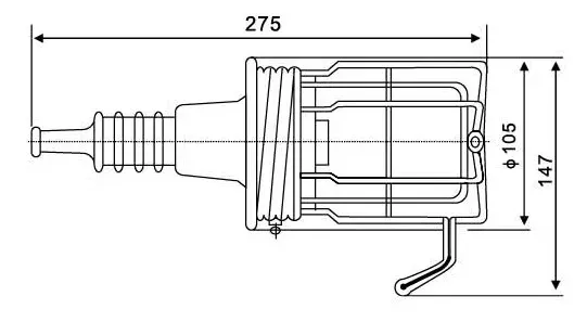
Product Description
1. Used for checking and repairing ship or loading or unloading goods at temporary work places.
2. With delicacy appearance, light weight and convenient to remove lamp body. Good waterproof function.
3. With energy-saving lamp
Main Specification

Lampholder: E27/B22D
Color: Transparent
IMPA code: 792151,792152